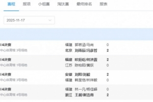
体育资讯11月17日讯 全运会羽毛球男双四分之一决赛全部结束,刘雨辰/冯彦哲、刘阳/刘毅、欧烜屹/何济霆、王昶/谢浩南四队选手挺进四强。
男双半决赛对阵情况如下:
刘雨辰/冯彦哲 VS 刘阳/刘毅
欧烜屹/何济霆 VS 王昶/谢浩南
男双四分之一决赛比分详情:
刘雨辰/冯彦哲2-0郭若涵/马尚
欧烜屹/何济霆2-0陈柏阳/黄荻
刘阳/刘毅2-0刘阳/刘毅
王昶/谢浩南2-0林一凡/杨佳峄
上一篇: 望无大碍!石宇奇谈全运会因伤退赛:我感觉跟腱响了一下但没断
下一篇: 祝早日康复!石宇奇社媒:只想说八个字__,__!请大家放心!
中超上海申花vs上海海港直播
比尔森胜利vs格拉斯哥流浪者直播
浙江vs北京国安
芬超古比斯vs哈卡
瑞士超塞尔维特vs圣加仑
基辅迪纳摩咸仑斯巴坦今日赛事
青岛vs新疆直播
同曦吉林今日赛事